联轴器:实现两轴的联接,并传递运动及转矩T。
联轴器所连接的两轴,由于制造及安装误差、承载后的变形以及温度变化的影响等,往往不能保证严格的对中,而是存在着某种程度的相对位移。这就要求设计联轴器时,要从结构上采取各种不同的措施,使之具有适应一定范围的相对位移的性能。
特点:两轴分离时,必须停机。
种类繁多,按结构特性分:
一、刚性联轴器:
刚性联轴器各零件都是刚性的,且它们之间不能作相对运动,不具有补偿两轴相对偏移的能力。
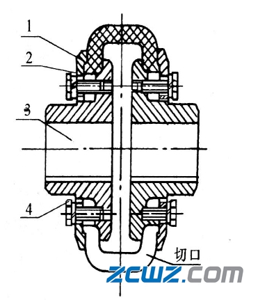
1、套筒联轴器
结构简单,径向尺寸小。常用于要求径向尺寸紧凑或空间受限制的场合。缺点是装拆时需轴向移动。
2、夹壳联轴器
特点是径向尺寸大,但装拆方便转动平衡性较差,故常用于低速。
3、凸缘联轴器
对两轴对中性的要求很高,结构简单、成本低、传递转矩大,应用最广。对轴的位移补偿能力差,普通螺栓连接、铰制孔螺栓连接。
总结:刚性联轴器特点:
主要优点:结构简单、价格较低。
缺点:
1、无法补偿两轴偏斜和位移,对两轴的对中性要求较高。
2、联轴器中都是刚性零件,缺乏缓冲、吸振能力。应用时若两轴偏斜时将引起附加应力,使轴、轴承和轴上零件工作条件恶化。
二、挠性联轴器
挠性联轴器具有补偿两轴相对位移的能力,可分为无弹性元件挠性联轴器和有弹性元件挠性联轴器。
1、无弹性元件挠性联轴器
无弹性元件挠性联轴器:无弹性元件,不能缓冲减振,通过刚性元件相对运动补偿被连接两轴之间的相对移动。
1)、十字滑块联轴器
十字滑块联轴器:径向尺寸小,结构简单。由于凸隼和凹槽间的相对滑动,工作时需要润滑,高速时十字滑块的偏心产生较大的离心力,用于低速。
2)、齿轮联轴器
传递转矩大,外形尺寸紧凑,工作可靠,但结构复杂,成本高,常用于低速的重型机械中。需要润滑和密封。
注:齿顶做成球面,齿侧做成鼓形,且齿侧间隙较大
允许的径向位移[y]= 0.3~ 0.4mm
允许的轴向位移[x]= 0.3~ 0.4mm
允许角位移[α]= 1°15′
3)、万向联轴器
当一轴固定时,另一轴可以在任意方向偏斜α角, 角位移最大可达45°。当主动轴以等角速度ω1,回转时,从动轴的角速度ω2,将在一定范围(ω1cosα≤ω2≤ω1/cosα)内作周期性的变化,从而引起动载荷。
为了消除从动轴的速度波动
a、将万向联轴器成对使用;
b、并使中间轴的两个叉子位于同一平面上;
c、还应使主、从动轴的轴线与中间轴的轴线间的偏斜角α相等α1=α2;
d、转速不宜太高。
4)、滚子链联轴器
利用一条公用的双排链条同时与两个齿数相同的并列链轮啮合来实现两个半联轴器的连接。
特点:结构简单,尺寸紧凑,质量小,装拆方便,维修容易,价格低。具有一定的补偿性能和缓冲性能,不宜用于:逆向传动、启动频繁、立轴传动和高速传动。
总结:无弹性元件挠性联轴器有如下几个特点:
1、联轴器中都是刚性零件,缺乏缓冲、吸振能力。
2、作相对滑动的零件为易损件,磨损后间隙变大,在载荷和速度变化时会造成冲击。
3、滑动零件间的摩擦阻力随载荷增大而增大,阻力大到使零件移动发生困难时,联轴器和轴将受附加动载荷的作用。
2、有弹性元件挠性联轴器
有弹性元件挠性联轴器是通过弹性元件的变形,不仅可补偿两轴间位移,还有缓冲、减振性能。
1)弹性套柱销联轴器
特点:
①橡胶套传递力;
②靠弹性补偿径向位移和角位移;
③预留C补偿轴向位移;
④弹性套易磨损,寿命短,设计时预留距离A;
⑤结构简单,制造容易,装拆方便,成本较低;
⑥适用于转矩小、转速高、频繁正反转、需要缓和冲击的地方。
半联轴器的材料常用HT200,有时也采用35钢或ZG270-500;柱销材料多用35钢;弹性套材料常用耐油橡胶。半联轴器与轴配合的孔可做成圆柱形或圆锥形。
2)弹性柱销联轴器
特点:
①尼龙柱销传递力;
②尼龙柱销,端部设有挡圈;
③靠弹性补偿径向位移和角位移;
④预留C补偿轴向位移;
⑤结构简单,制造方便,成本低;
⑥适用于转矩小、转速高、正反向变化多、起动频繁的高速轴。
3)轮胎式联轴器
由于橡胶轮胎易于变形,因此,允许的相对位移较大,角位移可达50°~ 120°,轴向位移可达0.02D,径向位移可达0.01D,其中D为联轴器的外径。
结构简单,使用可靠,弹性大,寿命长,不需润滑,但径向尺寸大。可用于潮湿多尘,起动频繁之处。
4)膜片联轴器
膜片联轴器的弹性元件上的弧段分为交错受压缩和受拉伸的两部分,拉伸部分传递转矩,压缩部分趋向褶皱。当所连接的两轴存在轴向、径向和角位移时,金属膜片便产生波状变形。
结构比较简单,弹性元件的连接没有间隙、不需润滑、维护方便、平衡容易、质量小、对环境适应性强,但扭转弹性较低,缓冲减振性能差,主要用于载荷比较平稳的高速传动。
5)、弹性杆联轴器
弹性杆联轴器由圆形截面的金属弹簧钢丝插在两半联轴器凸缘的孔中。
结构简单,价格便宜,弹性元件容易制造,弹性均匀,尺寸小,应用广泛,用于风机、泵等机械设备。
6)、波纹管联轴器
波纹管联轴器由两个轴套和波纹管组成。
特点:结构简单。惯性小,运转稳定。用于仪器和控制系统。
总结:有弹性元件的挠性联轴器具有以下特点:
1、具有弹性滯后特性,缓冲、吸振性好。
2、结构简单,价格便宜。
3、联轴器强度低、寿命较短。

































